Разработка SuperTOD-2

Особенности устройства и работы систем полного привода: TOD (Torque-On-Demand) и Part-Time (EST), устанавливаемых на KIA SORENTO

Разработка SuperTOD-2

Сообщение BlkDem » 07 июн 2011, 19:56

SuperTOD II

По вопросам приобретения устройства прошу писать в "личку" или партнерскую тему: :arrow: Тема: "SuperTOD-2" от BlkDem
Данная тема техническая - разработка.


1. Устройство со светодиодной индикацией и управлением кнопками штатного "компаса"

Изображение Изображение Изображение Изображение Изображение
Фото AlexDPenza. Отчет об установке: :arrow: Тема: Разработка SuperTOD-2, Сообщение #890018, Автор: AlexDPenza

2. Вариант с селектором от GM:
:arrow: Тема: Разработка SuperTOD-2, Сообщение #920610, Автор: BlkDem

Изображение Изображение Изображение Изображение

Отчет Вячеслава ВЕЛ (крутилка GM): :arrow: Тема: Разработка SuperTOD-2, Сообщение #935178, Автор: ВЕЛ
Отчет Романа Roofer: :arrow: Тема: Разработка SuperTOD-2, Сообщение #1354919, Автор: Roofer
Отчет Олега Sorento_2.5 :arrow: https://www.drive2.ru/l/6758514/?m=122172183&page=0

Изображение
Фото ВЕЛ
Изображение

3. Версия "мини" с 3-позиционным переключателем.
Изображение Изображение
Варианты переключателей (список будет дополняться):

Инструкции


Установка крутилки: :arrow: Тема: Разработка SuperTOD-2, Сообщение #1340874, Автор: Frankenstein911

Алгоритмы программирования
Немного изменился алгоритм "памяти 2Н".
1. Нажимаем кнопку "DOWN", держим, включаем зажигание.
2.а Дисплей LCD. Отобразится надпись "Память 2Н", сразу отпускаем кнопку "DOWN". Ждем появления надписи в нижней строке "0.0"
2.б Дисплей светодиодный. Сразу отобразится "0.0"
3. Кнопками "UP" и "DOWN" переключаем режим:
0.0 - запомнен режим "Авто"
0.1 - запомнен режим "2Н"
0.2 - запомнен режим "2Н" и отключен контроль торможения. //в последних версиях устройства режим отсутствует за ненадобностью.
4. После выбора режима, нажимаем кнопку "MODE".
Система запустится в выбранном режиме и будет запускаться всегда, пока не будет перепрограммирована.
Смена режима блокировки после загрузки также доступна.

Отображение режимов памяти: 0.0, 0.1, 0.2 - сделано для унификации со светодиодным дисплеем.

Еще одно дополнение. Контроль торможения теперь можно отключать и включать длительным нажатием кнопки "DOWN". в последних версиях устройства режим отсутствует за ненадобностью.
Активность режима отображается на :
- LCD - надпись в верхнем левом углу дисплея "(КТ)"
- светодиодный дисплей - точка в третьем знакоместе. Т.е., примерно так "2-.Н".
При выключенном режиме на LCD надпись "(КТ)" будет отсутствовать, а на светодиодном исчезнет точка: "2-Н"
Заказать модифицированную трансмиссию можно в партнерской теме - Тема: "SuperTOD-2" от BlkDem
Аватара пользователя
BlkDem
 
Модератор
 
Сообщения: 24225
Зарегистрирован: 16 сен 2009, 12:01
Откуда: TR
Благодарил (а): 1567 раз.
Поблагодарили: 1258 раз.
Имя: Максим
Автомобиль: Sorento BL, 2.5TD (170 л/с), TOD, AT
Год выпуска: 2007
Доп. информация: Был SORENTO 2.5TD 2002 г.
SuperTOD II, Бинар, CB

Re: Разработка SuperTOD-2. Запись желающих

Сообщение aleksross » 08 фев 2012, 17:05

Дык я с водительского места фотал :)
Дисплей на удивление читается без проблем под любым углом.
Руль конечно перекрывает процентов 10 дисплея, но чуть наклонить голову по моему совсем не проблема.
Как то так...
aleksross
 
 
Сообщения: 405
Зарегистрирован: 21 мар 2008, 16:58
Откуда: Нижний Новгород
Благодарил (а): 0 раз.
Поблагодарили: 0 раз.
Имя: Алексей
Автомобиль: Sorento BL, 3.3 (247 л/с) TOD, AT
Год выпуска: 2007
Доп. информация: H&R+45мм,SuperTOD-IIr. и много чего ещё...

Re: Разработка SuperTOD-2. Запись желающих

Сообщение YAN » 08 фев 2012, 17:09

aleksross писал(а):Дык я с водительского места фотал

Тады ОЙ! :)
Вместе-мы СИЛА!
Аватара пользователя
YAN
 
Модератор
 
Сообщения: 32704
Зарегистрирован: 21 дек 2008, 17:18
Откуда: Петроград
Благодарил (а): 1267 раз.
Поблагодарили: 3692 раз.
Имя: Виктор
Автомобиль: Sorento BL, 2.5TD (14X л/с), TOD, AT
Год выпуска: 2002
Доп. информация: Истиный Кореец.С пружинами от Влада.КониХТ.Самоблок2 от ВалРесинг.чип от Андрей13
С фаркопом от Giza, ДХО от PEI и супер-TOD от BlkDem

Re: Разработка SuperTOD-2. Запись желающих

Сообщение BlkDem » 08 фев 2012, 17:10

Тоже интересный вариант :)
Заказать модифицированную трансмиссию можно в партнерской теме - Тема: "SuperTOD-2" от BlkDem
Аватара пользователя
BlkDem
 
Модератор
 
Сообщения: 24225
Зарегистрирован: 16 сен 2009, 12:01
Откуда: TR
Благодарил (а): 1567 раз.
Поблагодарили: 1258 раз.
Имя: Максим
Автомобиль: Sorento BL, 2.5TD (170 л/с), TOD, AT
Год выпуска: 2007
Доп. информация: Был SORENTO 2.5TD 2002 г.
SuperTOD II, Бинар, CB

Re: Разработка SuperTOD-2. Запись желающих

Сообщение aleksross » 08 фев 2012, 18:14

YAN писал(а):Тады ОЙ!

Да ничё :)

BlkDem писал(а):Тоже интересный вариант

По мне так пока единственный...
Последний раз редактировалось aleksross 08 фев 2012, 21:01, всего редактировалось 1 раз.
aleksross
 
 
Сообщения: 405
Зарегистрирован: 21 мар 2008, 16:58
Откуда: Нижний Новгород
Благодарил (а): 0 раз.
Поблагодарили: 0 раз.
Имя: Алексей
Автомобиль: Sorento BL, 3.3 (247 л/с) TOD, AT
Год выпуска: 2007
Доп. информация: H&R+45мм,SuperTOD-IIr. и много чего ещё...

Re: Разработка SuperTOD-2. Запись желающих

Сообщение YAN » 08 фев 2012, 19:47

 Замечание от модератора: YAN
Не флудим!
Вместе-мы СИЛА!
Аватара пользователя
YAN
 
Модератор
 
Сообщения: 32704
Зарегистрирован: 21 дек 2008, 17:18
Откуда: Петроград
Благодарил (а): 1267 раз.
Поблагодарили: 3692 раз.
Имя: Виктор
Автомобиль: Sorento BL, 2.5TD (14X л/с), TOD, AT
Год выпуска: 2002
Доп. информация: Истиный Кореец.С пружинами от Влада.КониХТ.Самоблок2 от ВалРесинг.чип от Андрей13
С фаркопом от Giza, ДХО от PEI и супер-TOD от BlkDem

Re: Разработка SuperTOD-2. Запись желающих

Сообщение anton_gl » 09 фев 2012, 07:39

aleksross
А что с температурой на фото?
Аватара пользователя
anton_gl
 
 
Сообщения: 9581
Зарегистрирован: 19 окт 2009, 11:53
Откуда: г. Новокузнецк
Благодарил (а): 717 раз.
Поблагодарили: 1288 раз.
Имя: Антон
Автомобиль: Sorento BL, 2.5TD (14X л/с), TOD, AT
Год выпуска: 2003
Доп. информация: SuperTOD от Макса BlkDem

Re: Разработка SuperTOD-2. Запись желающих

Сообщение BlkDem » 09 фев 2012, 07:57

Термодатчика нет.
На тот момент мне казалось, что вообще можно будет от него отказаться.
Поскольку модуль управления у aleksross новый, то с прошивкой я малость тупанул.
В общем, надо просто в силовой блок воткнуть датчик температуры LM335, и все наладится.
Заказать модифицированную трансмиссию можно в партнерской теме - Тема: "SuperTOD-2" от BlkDem
Аватара пользователя
BlkDem
 
Модератор
 
Сообщения: 24225
Зарегистрирован: 16 сен 2009, 12:01
Откуда: TR
Благодарил (а): 1567 раз.
Поблагодарили: 1258 раз.
Имя: Максим
Автомобиль: Sorento BL, 2.5TD (170 л/с), TOD, AT
Год выпуска: 2007
Доп. информация: Был SORENTO 2.5TD 2002 г.
SuperTOD II, Бинар, CB

Re: Разработка SuperTOD-2. Запись желающих

Сообщение Giz » 16 фев 2012, 00:33

Так я решил проблему с охлаждением транзисторов
Изображение
Аватара пользователя
Giz
 
Партнёр Клуба
 
Сообщения: 3856
Зарегистрирован: 20 авг 2009, 00:31
Откуда: Санкт-Петербург
Благодарил (а): 463 раз.
Поблагодарили: 1289 раз.
Имя: Владимир
Автомобиль: Sorento BL, 3.3 (247 л/с) TOD, AT
Год выпуска: 2009
Доп. информация: кони XT , SuperTOD от Hvost, самоблок, лебёдка, Чип тюнинг от Андрея13, бустер
Sorento 2.4 был
LR Defender 90 и УАЗ Хантер
KIA Mohave 2013

Re: Разработка SuperTOD-2. Запись желающих

Сообщение BlkDem » 16 фев 2012, 04:05

Брутально! :D
Главное, теперь избежать касания радиаторами массы. Придется менять предохранитель ;)
========
Чуть потеплело. Начал проводить испытания готовых блоков.
Заказать модифицированную трансмиссию можно в партнерской теме - Тема: "SuperTOD-2" от BlkDem
Аватара пользователя
BlkDem
 
Модератор
 
Сообщения: 24225
Зарегистрирован: 16 сен 2009, 12:01
Откуда: TR
Благодарил (а): 1567 раз.
Поблагодарили: 1258 раз.
Имя: Максим
Автомобиль: Sorento BL, 2.5TD (170 л/с), TOD, AT
Год выпуска: 2007
Доп. информация: Был SORENTO 2.5TD 2002 г.
SuperTOD II, Бинар, CB

Re: Разработка SuperTOD-2. Запись желающих

Сообщение Dimonich » 16 фев 2012, 08:32

Максиму я фото это уже показывал но тут решил пказать как дороботал
так в собраном виде
Изображение
а так изнутри
Изображение
вот а чтобы небыло плюса на радиатарах использовал специальные прокладки из селиконо-тканевой прокладки под транзисторы и фторопластовые фтулочки для болтика
сейчас ели и есть нагрев то минимальный :)
Изображение
Аватара пользователя
Dimonich
 
 
Сообщения: 1242
Зарегистрирован: 25 июл 2010, 09:25
Откуда: Екатеринбург
Благодарил (а): 124 раз.
Поблагодарили: 116 раз.
Имя: Дмитрий
Автомобиль: Sorento BL, 2.5TD (170 л/с), TOD, AT
Год выпуска: 2005
Доп. информация: Корееец, Бинар 5S, SuperTOD II, Броня снизу, H&R +45

Re: Разработка SuperTOD-2. Запись желающих

Сообщение BlkDem » 16 фев 2012, 08:37

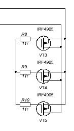
А вот чтобы совсем перегрева не было, модифицируем кусок схемы до такого, как на схеме ниже. (кому по силам)
Транзисторы скручиваем вместе на небольшой кусок алюминия и прячем все прямо в корпусе.
Нагрев минимальный (можно говорить, что его нет). Только что из машины с испытания блока с таким строенным ключом.
Вложения
stod_pm.jpg
stod_pm.jpg (11.27 КБ) Просмотров: 5757
Заказать модифицированную трансмиссию можно в партнерской теме - Тема: "SuperTOD-2" от BlkDem
Аватара пользователя
BlkDem
 
Модератор
 
Сообщения: 24225
Зарегистрирован: 16 сен 2009, 12:01
Откуда: TR
Благодарил (а): 1567 раз.
Поблагодарили: 1258 раз.
Имя: Максим
Автомобиль: Sorento BL, 2.5TD (170 л/с), TOD, AT
Год выпуска: 2007
Доп. информация: Был SORENTO 2.5TD 2002 г.
SuperTOD II, Бинар, CB

Re: Разработка SuperTOD-2. Запись желающих

Сообщение anton_gl » 16 фев 2012, 08:38

Макс, а проблема нагрева у рестайла? У меня вроде ничего не греется. Правда зима, но дисплее выше +30 не поднималось.
Аватара пользователя
anton_gl
 
 
Сообщения: 9581
Зарегистрирован: 19 окт 2009, 11:53
Откуда: г. Новокузнецк
Благодарил (а): 717 раз.
Поблагодарили: 1288 раз.
Имя: Антон
Автомобиль: Sorento BL, 2.5TD (14X л/с), TOD, AT
Год выпуска: 2003
Доп. информация: SuperTOD от Макса BlkDem

Re: Разработка SuperTOD-2. Запись желающих

Сообщение BlkDem » 16 фев 2012, 08:41

Просто ты постоянно в 4Н не ездишь. Перегрев наблюдается в 4Н.

В первом посту темы выложил схему силового блока. (внизу, под спойлером)
Заказать модифицированную трансмиссию можно в партнерской теме - Тема: "SuperTOD-2" от BlkDem
Аватара пользователя
BlkDem
 
Модератор
 
Сообщения: 24225
Зарегистрирован: 16 сен 2009, 12:01
Откуда: TR
Благодарил (а): 1567 раз.
Поблагодарили: 1258 раз.
Имя: Максим
Автомобиль: Sorento BL, 2.5TD (170 л/с), TOD, AT
Год выпуска: 2007
Доп. информация: Был SORENTO 2.5TD 2002 г.
SuperTOD II, Бинар, CB

Re: Разработка SuperTOD-2. Запись желающих

Сообщение anton_gl » 16 фев 2012, 09:24

Постоянно в 4Н вроде как вредно для раздатки?
Аватара пользователя
anton_gl
 
 
Сообщения: 9581
Зарегистрирован: 19 окт 2009, 11:53
Откуда: г. Новокузнецк
Благодарил (а): 717 раз.
Поблагодарили: 1288 раз.
Имя: Антон
Автомобиль: Sorento BL, 2.5TD (14X л/с), TOD, AT
Год выпуска: 2003
Доп. информация: SuperTOD от Макса BlkDem

Re: Разработка SuperTOD-2. Запись желающих

Сообщение BlkDem » 16 фев 2012, 09:28

Как бэ, сей факт не доказан ;)
Но и гонять напостоянку не вижу особо смысла. ТОД в гражданских режимах вполне справляется со своей задачей.
Заказать модифицированную трансмиссию можно в партнерской теме - Тема: "SuperTOD-2" от BlkDem
Аватара пользователя
BlkDem
 
Модератор
 
Сообщения: 24225
Зарегистрирован: 16 сен 2009, 12:01
Откуда: TR
Благодарил (а): 1567 раз.
Поблагодарили: 1258 раз.
Имя: Максим
Автомобиль: Sorento BL, 2.5TD (170 л/с), TOD, AT
Год выпуска: 2007
Доп. информация: Был SORENTO 2.5TD 2002 г.
SuperTOD II, Бинар, CB

Пред.След.

Вернуться в TOD и Part-Time (BL)

Кто сейчас на конференции

Сейчас этот форум просматривают: нет зарегистрированных пользователей и гости: 1